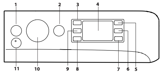
Notice Indesit BDE864359WFR : Section BANDEAU DE COMMANDES
Lisez le chapitre BANDEAU DE COMMANDES dans le mode d'emploi de la notice
Indesit BDE864359WFR
via
le macaron TagnIot NFC directement
sur votre smartphone. TagnIot utilise la technologie NFC pour vous délivrer le mode d'emploi de
votre appareil via votre smartphone.
Plus besoin de télécharger la notice d'utilisation Indesit
BDE864359WFR
BDE864359WFR . Rapprochez simplement votre smartphone
équipé de
la technologie NFC et lisez directement le chapitre BANDEAU DE COMMANDES dans le mode d'emploi

