Vérifiez que les entrées et les sorties d’air soient bien dégagées. Tenez compte des indications sur les dimensions (en millimètres) du meuble destiné à recevoir la table de cuisson. Vérifiez que l’air circule correctement entre l’avant et l’arrière de votre table de cuisson.



En cas d’installation de la table au-dessus d’un tiroir,


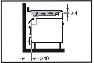
ou au-dessus d’un four encastrable , respectez les dimensions notées sur les illustrations afin d’assurer une sortie d’air suffisante à l’avant. Collez le joint d’étanchéité sur tout le pourtour de la table et introduisez la table dans la meuble




Si votre four est situé sous votre table de cuisson, les sécurités thermiques de la table peuvent limiter l’utilisation simultanée de celle-ci et du four en mode pyrolyse. Votre table est équipée d’un système de sécurité anti-surchauffe. Cette sécurité peut par exemple être activée en cas d’installation au-dessus d’un four insuffisamment isolé. Le code «F7» s’affiche alors dans les zones de commande. Dans ce cas, nous vous recommandons d’augmenter l’aération de votre table de cuisson en pratiquant une ouverture sur le côté de votre meuble (8 cm x 5 cm).